The
Western Electric Model 265
This interesting little phone is one of the local designs produced in Europe,
but apparently never sold back in the United States. It looks like a direct
descendent of the big WE "fiddleback" Model 85 of 1895 .
The long case version of the phone, shown below, is the European equivalent
of the Type 85. The illustration shows it as a magneto phone with a very early
folded steel transmitter mount that was abandoned in the late 1890s, and the
ornate top woodwork crest that is typical of the range. The crest seems unique
to the European phones and appears to be an attempt by Bell
Telephone Manufacturing of Antwerp to match the styling of the other
European phones of the time. The model is listed in Ron Knappen's "Old
Telephones" as 1904, but this is the date of the catalog from which his
illustration came. A starting date in the late 1880s would be closer, taking
into account the style of the transmitter bracket. An early catalog illustration
in Andrew Emmerson's book "Old Telephones" shows a small "chesspiece"
of turned wood at the top of the crest as an extra decorative touch.

Left:
U.S. version of the long case WE Model 85
Right: European CB version. Note the ornate transmitter mount and peg for
an extra receiver. The phone looks far more stylish with simple changes to the
woodwork.
The
265, as shown at the top, first appears in the catalogs of the National
Telephone Company of Britain as their Telephone No. 15. It is listed
as having been available until 1898 (when National changed to Ericsson phones).
The Bell Telephone Manufacturing Company and its successor, Western Electric,
were still making the large three-box Blake phones at this time. They did not
buy a factory in Britain until 1898, so who made the Model 265 phones for them?
From the mid 1900s GEC, and later its subsidiary company Peel-Conner, was producing
their model K8160 which is almost the same phone as the 265, apart from slightly
different woodwork. It used an Ericsson handset with a WE capsule transmitter
on a Peel Conner cradle in their catalog illustration, but in practice most
seem to have been fitted with Ericsson cradles. The difference is minor - the
Ericsson cradle has a square head at the top of the pillar, the PC has a grooved
horizontal cylindrical head. It is this combination of Ericsson cradle and handset
that seems to have given rise to the idea that the phone is an Ericsson, but
Ericsson never produced it. All these phones I have been able to examine are
fitted with Western Electric generators, switchhooks and transmitters. The National
at the time was buying phones from both GEC/Peel-Conner and Western Electric.
GEC / Peel-Conner also produced the bigger Model 85 magneto wall phone, and
the K8160 in a separate transmitter / receiver version.
Above: Peel
Conner K8160 catalogue illustration of their handset model. Note the distinctive
Peel Conner top to the pillar, which does not appear to have made it into production.
The backboard on the Peel Conner models is a little wider than the WE version.
The phone was also sold to the Hull Corporation, another British telephone service. 
Left: Comparison of the WE265 on left and the Peel Conner on right. Note
the deeper bottom box on the WE, and the wider woodwork on the Peel Conner.
The shorter backboard on the PC has been achieved by mounting the transmitter
bracket higher. Because of their superficial similarity, they seem to be regarded
by collectors as a single model.
The exact relationship between GEC / Peel-Conner and Western Electric is lost
in the mists of time and company takeovers, but GEC and Peel-Conner produced
many Western Electric parts and phone designs. It seems quite possible that
they either redesigned and produced the model for Western Electric, or built
it to WE specifications, or continued to build it as their own model after WE
discontinued it. The practice of using Ericsson parts was common among many
manufacturers until they could set up their own production facilities, and many
catalog illustrations exist of WE phones with Ericsson parts..
Peel Conner-sold their phone overseas during their history, and the K8160 in
both versions and the Model 265 are known from Australia, South America, and
South Africa.
The WE phones were upgraded
with the Delville transmitter, then the Solid Back. The original Model 122 outside
terminal receiver seems to have been replaced with whatever was lying around when
it failed. The transmitter bracket was changed to the plain rectangular WE style
around the late 1890s.
In 1912 the National Telephone Company was compulsorily bought out by the British
Post Office. The National phones were taken into the BPO inventory as their
Tele No. 1. The BPO was now buying the simpler flat-topped WE model, the Model
312, so the 265 was gradually retired from service.
In
1917 and 1922 (the dates on the circuit diagrams) some were refurbished and reissued
to fill post-War needs. Tele No. 79 was a "Special Fire Telephone for CB
Exchanges", and Tele No 81 was its magneto equivalent. The newer smaller
magnetos could be fitted into the old CB case quite conveniently, although some
may also have been originally made up as magneto phones late in their history.
In the master phones at the fire station a very large generator was used, requiring
an extension to the case. These were built into the Model 85 long case. The CB
exchanges referred to were the Fire Station switchboards, not the public telephone
exchanges.

Left:
Original version, early transmitter mount Centre: Peel Conner version
with different base scallop, handset, and wider backboard.
Right: Final WE version with simple transmitter mount, painted steel metalwork
and solid back transmitter

Left:
Delville transmitter. This phone is from South America, and may have been produced
under license. It more clearly shows the deeper bell housing and bigger writing
slope. Right: The Model 312 that replaced them all from about 1904.
.jpg)
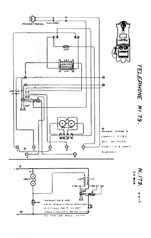
Left: Model 265 circuit diagram
Right : BPO tele No 79 circuit.
  
Left: BPO Tele No 81 Fire phone based on a longer case model so far unidentified.
Note the add-on cover for the large generator used to signal all the fire phones
on a circuit.
Centre: Ex-national model from the Hull Corporation, refitted with a dial.
Right: The Model
85 was often rebuilt as an intercom phone. Note the visual indicator at the top
left to signal a call from the exchange, and the drop shutter at the base to signal
a call from the extension.The extra set of gongs just visible under the writing
slope is for calls from the extension phone.
All these phones are quite well known in Australia, and were apparently imported
in large numbers before Federation. Following Federation they were replaced
by the simpler model, as in Britain. The Peel Conner phones appear to be quite
rare, but may simply have been misidentified as WE or Ericsson for the reasons
given above. It is possible that Peel Conner phones were built under license
in Australia, but I have not been able to confirm this.
Many of the phones branded with the National Telephone Company logo have been
repaired with Ericsson parts, further adding to the confusion. These repairs
probably date to the last days of the National, when they were keeping their
phones going by refurbishing them at Beeston for as long as possible before
the BPO takeover.
Bibliography Bateman J History of the
Telephone in NSW Emmerson A Old Telephones Knappen R Old
Telephones Peel Conner catalogue 1912 courtesy Linley Wilson Bob
Freshwater's Telephone
File website Meyer Ralph O. Old Telephones! Technology Restoration
and Repair
Special thanks to Lawrence Rudolf for the photos of phones in British collections
There are still many gaps in the information
on this phone. If you have reached this page through a Search Engine, this will take you to the front page of the website
|